In cold climates, fireplaces are undoubtedly one of the cosiest forms of heating. Gathering around the glow of a fire is something humans have been doing for millennia. The flicker of the flames is mesmerising; the radiant warmth deeply comforting on a cold winter’s day.
But as romantic as conventional fireplaces are, they are also notoriously inefficient. Most of the heat disappears straight up the chimney along with the smoke, meaning a lot of wood is burned for very little lasting warmth.
Across many cultures, however, ingenious craftspeople developed a far better solution.
In English, these systems are known as masonry heaters. In Austria they’re called Kachelofen, in Sweden Kakelugn, in Russia Pech, in Romania the Soba and in Poland Piec Kaflowy. While the aesthetics of each tradition are beautifully distinct, the underlying principles are remarkably consistent.
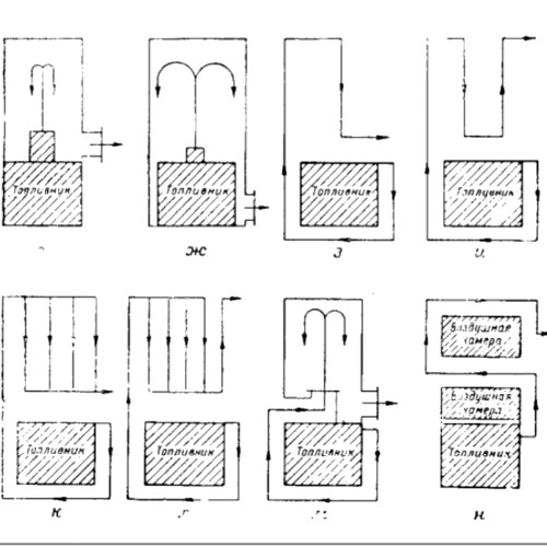
A masonry heater burns wood in a high-temperature firebox, often reaching around 800°C. This intense heat results in a very clean, efficient burn, fully combusting the fuel and producing extremely low levels of smoke and particulates.
Instead of sending that heat straight up the chimney, the hot exhaust gases are channelled through a large masonry mass. The masonry absorbs and stores the heat, acting like a thermal battery. A relatively short fire — typically 1.5 to 2 hours— is often enough to provide 18 to 24 hours of gentle, radiant warmth. Each heater is usually designed specifically for the home, climate, and lifestyle it serves.


Left: Flu design Source David Lyle: The book of Masonry Stoves Right: Romanian Soba Image credit: Raluca Marinescu - Pinterest
In Russia, the Pech was often combined with a raised sleeping platform above the stove. Heat generated from cooking was captured and reused to create a warm, radiant surface where people could sleep comfortably through long, bitter winters.

Russian Pech - Image Credit: ​Pinterest
European designs tend to favour vertical forms. The Austrian Kachelofen is often tall and monolithic, sometimes extending to full ceiling height. Swedish Kakelugnar are typically more rounded and finished in beautifully crafted ceramic tiles. In contrast, everyday Russian stoves were frequently finished more simply, using earthen plasters or limewash.
The complexity of these systems is as varied as the homes they inhabit. Some masonry heaters are purely for heating, while others incorporate ovens, stovetops, or baking chambers into the thermal mass. Bench seating is another common feature, allowing people to sit or rest directly on the warm masonry and experience the heat through gentle radiant contact.
​
Austrian Kachelofen - Image credit: CZ 13 Pinterest. Polish Piec Kaflowy - Image credit - dacer.pl
This kind of warmth feels fundamentally different from heating the air. If you’ve ever spent time in a well-designed passive solar home, you’ll recognise the sensation — the warmth lingers, even with doors open, and the indoor air remains fresh and comfortable. Masonry heaters offer a similar quality of heat while significantly improving indoor air quality and reducing fuel consumption.
Why aren’t masonry heaters more common?
Given how beautiful, efficient, and sustainable these fireplaces are, it’s reasonable to wonder why we don’t see more of them today.
The answer lies in knowledge and craftsmanship. Masonry heaters require skilled master craftspeople who understand combustion, heat flow, materials, and long-term performance. They take time to design and build and are therefore more expensive than mass-produced heating appliances.
Masonry heaters are functional art. They sit at the intersection of engineering, craftsmanship, and cultural tradition. As with anything handmade and site-specific, the combination of specialised expertise, careful construction, and longevity comes at a cost.
When considered over the lifetime of the heater — and the daily pleasure of deep, radiant warmth from thermal mass — it is an investment many consider well worth making.


Left Image Swedish Kakelugn - Image Credit Asmin.org. Right Image Swedish Kakelugn - Image credit houseandgarden.co.uk
In the high-altitude cold desert of the Spiti Valley, heating has traditionally relied on simple tandoors that combine cooking and warmth, but these systems are inefficient and fuel-intensive in a region with very limited local timber. After ten years of learning from Spiti’s building traditions and climatic knowledge, this workshop brings European masonry-heater principles into dialogue with local practice, exploring how proven cold-climate heating techniques can be thoughtfully adapted to the Himalayan context.
If you’d like to explore the world of masonry heaters more deeply, we invite you to join us for our Masonry Heater Workshop in the Spiti Valley, June 2026.
Led by a Polish Master Craftsman, this hands-on, one-week workshop will guide participants through the construction of a masonry heater incorporating a small oven for a kitchen and dining space. The build will take place at our heritage reconstruction site, “Once Upon a Time” — a living project showcasing craftsmanship from the Spiti Valley and beyond.
Whether you’re a builder, architect, designer, craftspeople, or simply someone interested in traditional wisdom and sustainable living, this workshop offers a rare opportunity to learn directly from a lineage of knowledge that has kept homes warm for centuries.


Image Left: Masonry Heater with Polished Lime Plaster - Image Right Contemporary Masonry Heater - Image Credit: Temple of Fire
A masonry heater is a high-efficiency wood-fired heating system made from stone, brick, or tile. It burns wood at very high temperatures and stores the heat in a large masonry mass, releasing gentle radiant warmth over many hours.
Unlike conventional fireplaces, which lose most of their heat up the chimney, masonry heaters capture and store heat within their structure. A short, hot fire can provide warmth for 18–24 hours, using significantly less wood and producing far fewer emissions.
Yes. When properly designed and built, masonry heaters burn very cleanly, produce low particulate emissions, and dramatically reduce fuel consumption. This makes them one of the most sustainable wood-heating options available, especially in cold climates.
Many masonry heaters incorporate ovens, stovetops, or baking chambers into the thermal mass. These combined heating and cooking systems have been used for centuries in Europe and parts of Asia.
European masonry-heater traditions developed in cold regions with limited fuel resources — conditions that closely mirror those of the high-altitude Spiti Valley. This workshop explores how proven cold-climate heating principles can be thoughtfully adapted to a Himalayan context.
No. One of their advantages is simplicity in daily use. A masonry heater is typically fired once or twice a day, with no need for continuous feeding or supervision.
Join us in the speactacular Spiti Valley, where intentional craftsmanship still thrives. Over the course of the workshop, we will build a masonry heater and stove for the kitchen–dining heart of our heritage reconstruction project 'Once Upon a Time', reinterpreting an elegant wood-heating tradition to meet the rhythms, needs, and culture of life in the Spiti Valley.
To learn more or sign up see the link below.